苹果革命性设计!折叠屏iPhone曝光:完美去除刘海
有关苹果即将推出可折叠设备一事也算是老生常谈了。前段时间,雷科技曾经报道称苹果的可折叠设备将不会采用类似三星Glaxy Fold那样的可折叠屏幕,而是用两块屏幕组合而成,更接近于微软Surface Duo的设计,但这并不代表苹果没有过要推出单屏幕可折叠设备的想法。
7月6日讯,据外媒MSPoweruser报道,苹果在今年三月份申请的一项可折叠设备设计专利曝光,这份专利将通过一种独特的柔性屏幕设计方法来解决折叠屏的一些通病,着实令人期待。

尽管现在折叠屏量产已经不是问题,但是用户遇到的折痕与开裂的问题却一直都没有解决。苹果方面则希望在保持可折叠设备的拓展性上,另辟蹊径来解决当前困扰着众多厂商与消费者的这个技术难题。

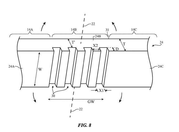
如专利图所示,苹果希望能够在柔性屏幕折叠处的里侧切割出一系列凹槽,并使用和屏幕原材质折射率相同的弹性聚合物或液体填充凹槽,使得凹槽实际上不会影响到屏幕的显示效果。当用户对屏幕进行折叠的时候,凹槽处的弹性聚合物就会进行压缩,当屏幕被再次打开时,凹槽处的弹性聚合物就会被释放开来以填满凹槽,苹果希望能够通过这样的设计来解决折痕问题。
苹果对可折叠设备一直颇有研究,早在2017年的时候,它就已经申请过折叠屏手机的相关专利了。直到今年3月份,苹果依然在申请折叠屏相关的设计专利,从前段时间曝光的通过磁性铰链来连接两个显示面板的可折叠设备,到今天曝光的全新折叠屏幕设计。可以看出苹果对进军可折叠设备市场早有准备,确实有可能在2021年推出折叠 iPhone。

因为屏幕切换导致软件适配不佳,是折叠屏设备存在的一大问题,但这是苹果能够解决的问题。封闭的系统与应用市场,让各大软件开发商无法忽视的市场占有率,让苹果的号召力达到了前所未有的水平。

2020-07-11 16:43:40