苹果折叠设备来了?相关专利已申请,概念图曝光却遭吐槽
现阶段很多手机厂商都推出了折叠设备,像三星华为这样的大厂商都已经研发甚至发布了折叠设备,这也让很多人猜测,作为手机行业的另一巨头企业,苹果公司什么时候会推出折叠设备呢?

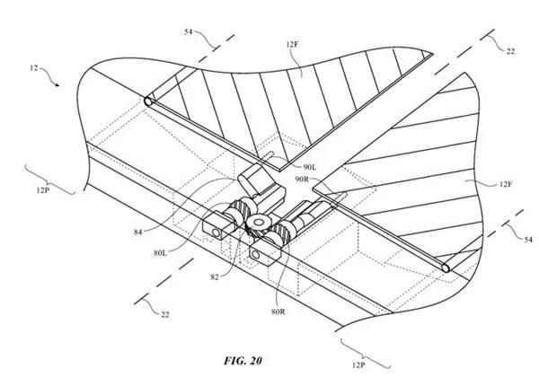
有消息显示苹果目前正在研发自己的折叠设备:今年2月,美国专利商标局公布了一项来自苹果的专利,这项专利被称为「具有柔性显示器和铰链的电子设备」,是一种支持屏幕折叠的电子设备方案。

根据文件描述,苹果的折叠技术使用两块完全独立的屏幕,当展开时可以作为一个显示器使用;电子设备可以通过传感器等其他零件检测到屏幕的折叠或者开启。

网上也已经有了不少关于苹果折叠设备的图片,不过也被很多人吐槽,称苹果的这个折叠设备就像是“将两部手机拼接起来一样”,着实搞笑,或许这也表达了用户们对于折叠设备最为关注的地方吧,就是两块屏幕的连接转轴,这点上看,苹果和其他准备开发折叠设备的厂家还有很长的路要走啊。


2020-03-13 14:11:32