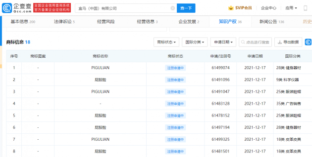
盒马申请注册“屁股脸”商标,目前商标状态均为申请中
28 日消息,信息显示,12 月 17 日,盒马(中国)有限公司申请注册多个“屁股脸”“PIGULIAN”商标,国际分类涉及广告销售、服装鞋帽等,目前商标状态均为申请中。


据悉,盒马 IP“盒马先生”经常被网友戏称为“屁股脸”。

上一篇: Meta VR 应用登顶苹果美国应用商店!
下一篇:没有了

2021-12-28 09:11:13